2УТК 720 утяжелители кольцевые

Чертеж изделия:
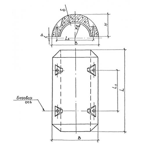
Характеристики изделия:
ПараметрЗначение
длина2400 мм
ширина1170 мм
высота555 мм
масса1380 кг
нормативный документПроект №998

2УТК 720  Утяжелители железобетонные кольцевые сборные для магистральных трубопроводов Проект №998.