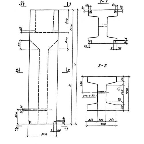
ВБ 10.12.21

Чертеж изделия:
Характеристики изделия:
ПараметрЗначение
длина1000 мм
ширина1200 мм
высота2090 мм
вес4810 кг
серия0-221-84

ВБ 10.12.21 Блоки-стаканы верхние по серии 0-221-84.