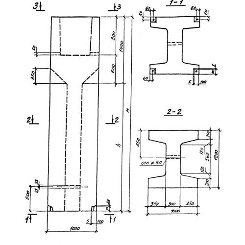
ВБ 10.12.42

Чертеж изделия:
Характеристики изделия:
ПараметрЗначение
длина1000 мм
ширина1000 мм
высота4190 мм
вес8650 кг
серия0-221-84

ВБ 10.12.42 Блоки-стаканы верхние по серии 0-221-84.