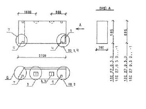
ПС 27.9.3.0 панели стеновые

Чертеж изделия:
Характеристики изделия:
ПараметрЗначение
длина2700 мм
ширина300 мм
высота885 мм
масса1030 кг
нормативный документСерия 1.030.1-1/88

ПС 27.6.3.0  Панели стеновые Серия 1.030.1-1/88.