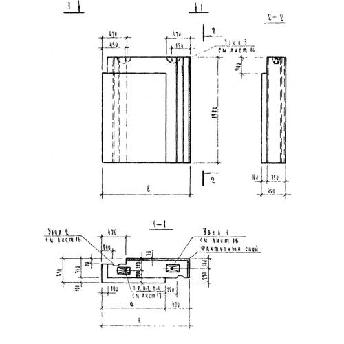
НЦ 20.20.45

Чертеж изделия:
Характеристики изделия:
ПараметрЗначение
длина1950 мм
ширина450 мм
высота1980 мм
вес3580 кг
серия1.116-5

НЦ 20.20.55 Наружные цокольные угловые блоки по серии 1.116-5.