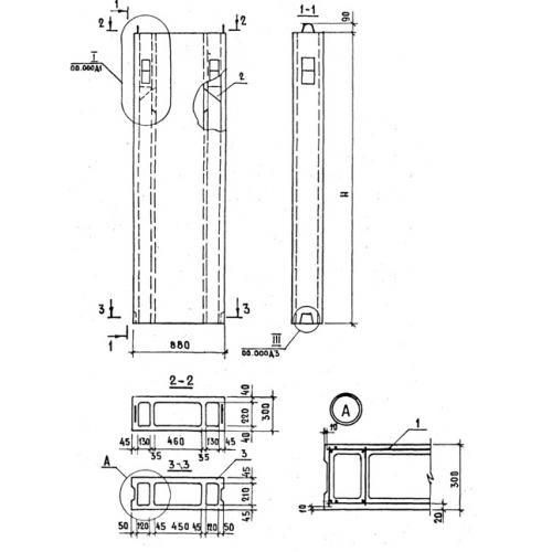
ВБП 9.28.3 блоки вентиляционные

Чертеж изделия:
Характеристики изделия:
ПараметрЗначение
длина880 мм
ширина300 мм
высота2790 мм
масса650 кг
нормативный документСерия 1.134.1-12

ВБП 9.28.3  Блоки вентиляционные  поэтажные Серия 1.134.1-12.