ПК 47.15

Чертеж изделия:
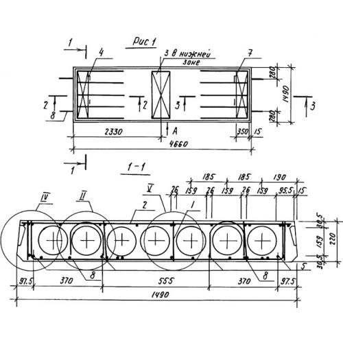
Характеристики изделия:
ПараметрЗначение
длина4660 мм
ширина1490 мм
высота220 мм
вес2205 кг
серия1.141.1-32с

ПК 47.15 Плиты перекрытия многопустотные по серии 1.141.1-32с.