К 5

Чертеж изделия:
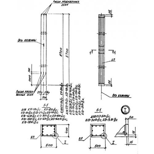
Характеристики изделия:
ПараметрЗначение
длина5700 мм
ширина500 мм
высота400 мм
масса2900 кг
нормативный документСерия 3.015-3/92

К 5  Колонны Серия 3.015-3/92.